贵州产品展示
/ Products Classification 点击展开+详细介绍
LZ10001手动火灾报警按钮防雨罩产品介绍
LZ10001手动火灾报警按钮防雨罩是不锈钢材质。这款防雨罩需要与LZ1000手动报警按钮立柱配套使用,适用于在室外安装安装本安型手动报警按钮,防护等级IP65。可配套产品:J-SAB-G1(Ex)、J-SAF-GST9211(Ex)手动火灾报警按钮。
LZ10001型防雨罩与LZ1000型立柱配套使用。LZ10001型防雨罩防护等级IP65,其外形示意图如图1-13所示。

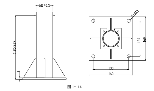
LZ1000型立柱的外形示意图如图1-14所示。

LZ10001型防雨罩与LZ1000型立柱配套安装示意图如图1-15所示。

布线要求:电缆均选用截面积≥1.0mm2的本安电缆,且电缆间分布电容不得大于0.083μF,分布电感不得大于4.0mH。
本文标签:
相关服务 / service
地区产品 / city
相关产品 / product
相关新闻 / news
- 贵州石油化工火灾报警系统维护保养技术标准[ 2025-11-12 ]
- 贵州消防车取水口直接与消防水泵吸水管直接连接,技术可行吗?[ 2025-11-12 ]
- 贵州空调机房等设备用房的门做防火门(常闭式)外开时,会考虑门开启后是否会影响疏散通道的宽度吗?[ 2025-11-10 ]
- 贵州海湾亮相央视《信用中国》特别节目:武海峰与董倩共话智慧消防新未来[ 2025-11-10 ]
- 贵州这些情形下,手动报警按钮不作为消防联动启动的触发信号[ 2025-11-08 ]
- 贵州防爆电气设备的分类[ 2025-11-04 ]
- 贵州火灾报警控制器存在这些隐患时应考虑报废,不然问题更大![ 2025-10-31 ]
- 贵州手动火灾报警按钮的分类[ 2025-10-31 ]
联系我们
- 电话:4006-598-119
- 邮箱:1334605518@qq.com
- 地址:苏州市常熟市黄河路275号
- 版权所有:智淼君安(江苏)消防工程技术有限公司
- 海湾消防 www.gstyg.com 网站地图 (XML/TXT)
- ICP备案证书号:苏ICP备19022074号-10
苏公网安备32058102002167号
扫一扫,关注我们
- 贵州关于我们
- 贵州产品展示
- 贵州火灾自动报警系统
- 贵州气体灭火系统
- 贵州电气火灾监控系统
- 贵州消防电源监控系统
- 贵州防火门监控系统
- 贵州应急照明疏散系统
- 贵州极早期空气采样系统
- 贵州消防余压监控系统
- 贵州可燃气体监控系统
- 贵州智慧消防物联网系统
- 贵州涉外消防设备
- 贵州空气采样探测器
- 贵州消防水炮系统
- 贵州其它配件
- 贵州联网及通讯接口
- 贵州海湾消防技术视频
- 图探系统
- 贵州新闻中心
- 贵州技术文章

服务热线:

<
<
<
<
